首页 > 感控皮护> 医用缝合线> 镍钛记忆合金非吸收缝线 厂家

镍钛记忆合金非吸收缝线 厂家

商品品牌: 国产

  • 聚慕货号:/
  • 配送方式:上海自提或三方快递
  • 售后服务:18901912755
  • 库存情况:99
  • 产品保修:[设备]1年质保 [耗材]见包装
  • 公司:上海聚慕医疗器械有限公司
  • 订购方式:签约购买

参考价:
面议

关于参考价
摩贝参考价是根据供应商的报价结合成交价,通过一定
算法规则计算出的报价,仅供数据参考,该价格每个月
会进行一轮更新。

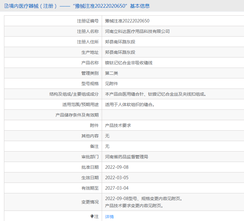
产品名称镍钛记忆合金非吸收缝线

管理类别第二类

结构及组成/主要组成成分本产品由医用缝合针、钛镍记忆合金丝及夹线扣组成。

适用范围/预期用途适用于人体软组织的缝合。

镍钛记忆合金非吸收缝线是***种利用镍钛合金形状记忆效应和超弹性的高科技医疗缝合材料‌。它在体温下能恢复预设形状,为伤口提供持续均匀的压力,促进愈合,同时具备高强度、耐腐蚀和良好的生物相容性,能有效减少疤痕形成和术后并发症‌。


这种缝线尤其适用于对美观和愈合速度要求高的手术,如妇产科剖腹产、普外科、创伤外科及烧伤科‌。其核心优势在于能自动对合组织,并在水肿消退过程中持续加压,实现更佳的美容效果‌。

image.png

上海聚慕医疗器械有限公司成立于2015年,成立十多年以来已服务于10万+医疗用户,复购率达到31.25%

以上该产品相关信息来自网络,仅供参考不作购买下单依据如有疑问请致电400-901-5099

 

三证.png 

 

售后服务

1、产品质量问题,在产品售出7天内因产品有明显瑕疵的且产品未有损坏的,聚慕医疗负责免费换货;

2、产品标配售后服务质保期:1年质保,如需延保服务请致电400-901-5099;

3、质保期内如有产品质量问题,免费维修或更换,质保期外长期提供技术支持,如需上门或更换配件,酌情收取基本配件费及差旅费;4、所有产品售后问题,请直接联系我司全***免费咨询热线:400-901-5099,我司售后服务团队会在1~3个工作日内响应处理。


相关产品

您可能感兴趣的产品

二维码

二维码

二维码

二维码