首页 > 消毒灭菌> 低温等离子灭菌器> SQ-JQ100 低温蒸汽甲醛灭菌器 厂家

SQ-JQ100 低温蒸汽甲醛灭菌器 厂家

商品品牌: 三强

  • 聚慕货号:SQ-JQ100
  • 配送方式:上海自提或三方快递
  • 售后服务:18901912755
  • 库存情况:99
  • 产品保修:[设备]1年质保 [耗材]见包装
  • 公司:上海聚慕医疗器械有限公司
  • 订购方式:签约购买

参考价:
面议

关于参考价
摩贝参考价是根据供应商的报价结合成交价,通过一定
算法规则计算出的报价,仅供数据参考,该价格每个月
会进行一轮更新。

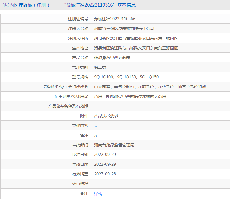
产品名称:低温蒸汽甲醛灭菌器

管理类别:第二类

型号规格:SQ-JQ100、SQ-JQ130、SQ-JQ150

结构及组成/主要组成成分:由灭菌室、电气控制柜、加药系统、加热系统、抽真空系统组成。

适用范围/预期用途:适用于能够耐受甲醛的医疗器械的灭菌用

主要特点

‌低温灭菌‌:工作温度通常在60°C-82°C之间,避免高温对热敏感器械的损伤‌。

‌穿透性强‌:甲醛蒸汽易穿透包装深处,尤其适用于管腔类器械的灭菌。

‌自动化程度高‌:设备采用微电脑控制,具有***键启动、实时记录等功能,操作简便。

‌安全性‌:设备具有密封性能,可消除残留甲醛气体,减少对环境和人员的危害。

image.png

上海聚慕医疗器械有限公司成立于2015年,成立十多年以来已服务于10万+医疗用户,复购率达到31.25%

以上该产品相关信息来自网络,仅供参考不作购买下单依据如有疑问请致电400-901-5099

 

三证.png 

 

售后服务

1、产品质量问题,在产品售出7天内因产品有明显瑕疵的且产品未有损坏的,聚慕医疗负责免费换货;

2、产品标配售后服务质保期:1年质保,如需延保服务请致电400-901-5099;

3、质保期内如有产品质量问题,免费维修或更换,质保期外长期提供技术支持,如需上门或更换配件,酌情收取基本配件费及差旅费;4、所有产品售后问题,请直接联系我司全***免费咨询热线:400-901-5099,我司售后服务团队会在1~3个工作日内响应处理。


相关产品

您可能感兴趣的产品

二维码

二维码

二维码

二维码