首页 > catarhex 3 超乳玻切一体机

catarhex 3 超乳玻切一体机

商品品牌: 进口

聚慕货号:catarhex 3 库存情况:99 订购方式:签约购买
配送方式:上海自提或三方快递 产品保修:[设备]1年质保 [耗材]见包装
售后服务:18901912755

参考价:
面议

简介

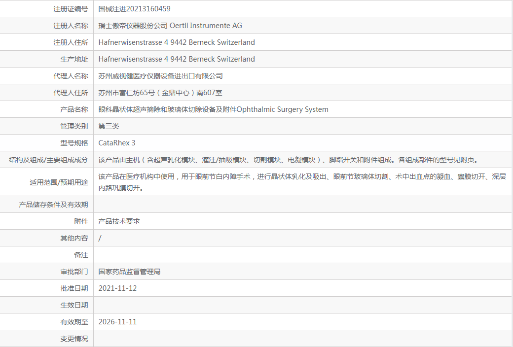
结构及组成/主要组成成分 该产品由主机(含超声乳化模块、灌注/抽吸模块、切割模块、电凝模块)、脚踏开关和附件组成。各组成部件的型号见附页。 适用范围/预期用途 该产品在医疗机构中使用,用于眼前节白内障手术,进行晶状体乳化及吸出、眼前节玻璃体切割、术中出血点的凝血、囊膜切开、深层内路巩膜切开。

以上该产品相关信息来自网络,仅供参考不作购买下单依据,如有疑问请致电400-901-5099

 图片1.png

售后服务

1、产品质量问题,在产品售出7天内因产品有明显瑕疵的且产品未有损坏的,聚慕医疗负责免费换货;

2、产品标配售后服务质保期:1年质保,如需延保服务请致电400-901-5099;

3、质保期内如有产品质量问题,免费维修或更换,质保期外长期提供技术支持,如需上门或更换配件,酌情收取基本配件费及差旅费;4、所有产品售后问题,请直接联系我司全***免费咨询热线:400-901-5099,我司售后服务团队会在1~3个工作日内响应处理。

 

 


您可能感兴趣的产品

-->

二维码

二维码

二维码

二维码