首页 > zd-71微迪mdsp临床诊断听力计

zd-71微迪mdsp临床诊断听力计

商品品牌: 微迪数字

聚慕货号:zd-71 库存情况:99 订购方式:签约购买
配送方式:上海自提或三方快递 产品保修:[设备]1年质保 [耗材]见包装
售后服务:18901912755

参考价:
面议

简介

MDSP临床诊断听力计ZD-71具有多项创新技术,包括内置环境噪音监测、中文词表、鼠标发声和智能计算,直接通过互联网,将数据传送到任意地方,同时可以搜索各种临床信息通过互联网,和各种硬件联系,包括康复器械、统计工具、治疗设备等;这是儿童听力计的关键技术,能将OAE、ASSR、ABR等测试结果按照认可的原则转换成相关的听力阈值,USB数据链结,接收其它听力计数据输入或人工输入,听力数据智能可转化:HL、SLP、 SL、nHL等;

全球自动测听环境噪音检测技术 

内置噪音监测仪,实时检测环境噪音,并可按多种记权方式显示,环境噪音***目了然,有力地保障了测听的有效性和准确性。

内置中文测试词表 

内置中文测试词表,单词与词表同***屏幕显示,可顺序或任意点击单词给声,自动记录测试结果,无须VU表校准,让言语测听更加简捷、方便。

听力计互联网功能与科研分析功能 

实现听力计上网功能,将听力测试带入21世纪医学发展领域;自动保存同***患者多项测试图形和数据,强大存储空间能力,使用方便,特制数据输出便于科研分析;强大的信息管理和数据搜索技术、辅以智能计算分析功能、联机统计工具,满足SCI科研格式的数据库,成为医学科研的助手。

创新的自动PTA计算、自动掩蔽提示,自动频谱显示 

独特的智能化功能,实现自动平均听阈PTA计算、自动掩蔽提示、多维听力阈值比较、自动频谱显示为临床和科学研究提供方便。

多倍频程实现测听 

频率可调步长除了标准倍频程外,还可选择1/2、1/3、1/6、1/12、1/24等更多倍频程,轻松实现测听 

创新给声操作模式 

除了使用传统键盘操作以外,还可以使用鼠标直接在听力图上给声并记录,让测听过程方便简单 

***机多用、***机常用 

采用先进的医学DSP工程平台,具有强大的扩展能力,而且配置灵活、升***方便,可按需求增加功能模块,实现***机多用、***机常用,成为您工作上的得力助手

序号 功能名称 ZD-71

注上表中: ●为包含 ○为不包含 ×为不支持


1 纯音测听模块 ●

2高频测听模块 ●

3言语测听模块 ●

4声场测试模块 ●

5儿童测听模块 ○

6患者管理系统模块 ●

7环境噪声监测模块 ●

8医患交流模块 ●

9蜗后鉴别测试模块 ●

10医疗数据统计模块 ●

11科研分析模块

12平均听阈自动计算功能 ●

13多倍频程频率步长功能 ●

14临床掩蔽提示功能 ●

15言语清晰度数据显示功能 ●

16气骨导差值自动计算功能 ●

17临床自动掩蔽功能 ●

18共锁功能(InterLock)

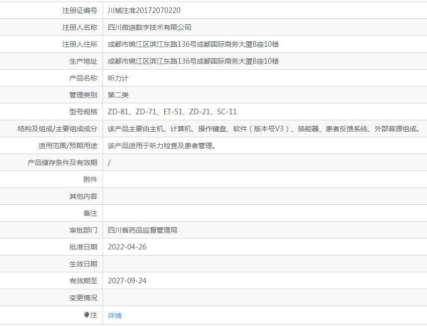
川械注准20172070220

有效期至:2027-09-24

以上该产品相关信息来自网络,仅供参考不作购买下单依据如有疑问请致电400-901-5099

 

1.png 

 

售后服务

1、产品质量问题,在产品售出7天内因产品有明显瑕疵的且产品未有损坏的,聚慕医疗负责免费换货;

2、产品标配售后服务质保期:1年质保,如需延保服务请致电400-901-5099;

3、质保期内如有产品质量问题,免费维修或更换,质保期外长期提供技术支持,如需上门或更换配件,酌情收取基本配件费及差旅费;4、所有产品售后问题,请直接联系我司全国免费咨询热线:400-901-5099,我司售后服务团队会在1~3个工作日内响应处理。


您可能感兴趣的产品

-->

二维码

二维码

二维码

二维码