首页 > sk-680a眼底照相机

sk-680a眼底照相机

商品品牌: 重庆上邦

聚慕货号: sk-680a 库存情况:99 订购方式:签约购买
配送方式:上海自提或三方快递 产品保修:[设备]1年质保 [耗材]见包装
售后服务:18901912755

参考价:
面议

简介

自动调焦、自动对位、自动拍摄

在光学劈裂线调焦的基础上实现***的自动调焦、自动对位、自动拍

摄。

图像质量有保证,轻松获取***清晰的眼底彩照。

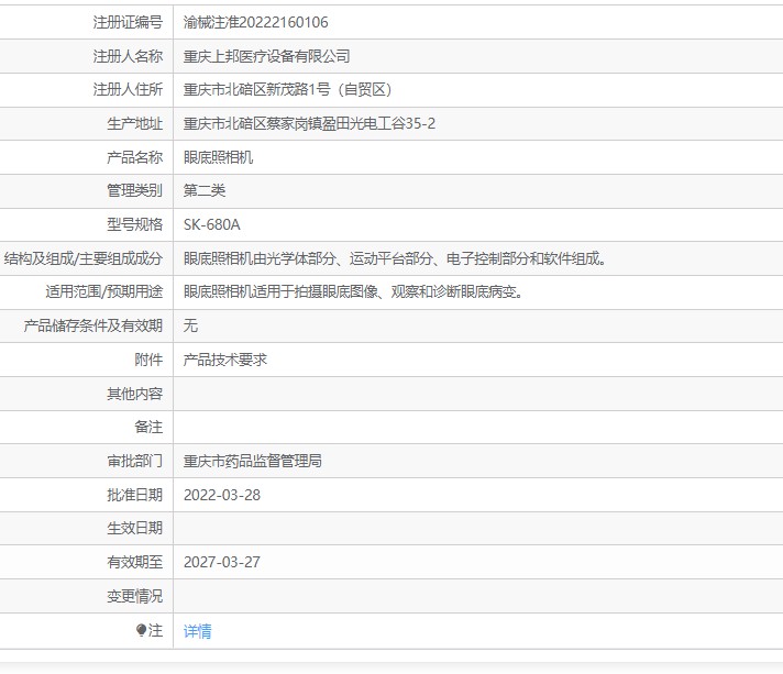
渝械注准20222160106

有效期至:2027-03-27

以上该产品相关信息来自网络,仅供参考不作购买下单依据如有疑问请致电400-901-5099

 

1.png 

 

售后服务

1、产品质量问题,在产品售出7天内因产品有明显瑕疵的且产品未有损坏的,聚慕医疗负责免费换货;

2、产品标配售后服务质保期:1年质保,如需延保服务请致电400-901-5099;

3、质保期内如有产品质量问题,免费维修或更换,质保期外长期提供技术支持,如需上门或更换配件,酌情收取基本配件费及差旅费;4、所有产品售后问题,请直接联系我司全国免费咨询热线:400-901-5099,我司售后服务团队会在1~3个工作日内响应处理。


您可能感兴趣的产品

-->

二维码

二维码

二维码

二维码